产品中心
数据条码追溯、数据存储和上传、数据浏览和分析、远程访问等一体的数据管理软件。
实时设备状态:监控连接设备的数量及在线、离线状态,且离线状态有红色标记,用户登录后可以直观
看到设备是否在线。
电批控制:监控连接设备的详细信息,包括IP地址和在线状态,可帮助用户快速定位离线设备。
运行状态:实时监控软件运行状况,能快速查找运行故障,迅速恢复正常。
运行情况统计:统计每日运行次数,让用户能快速掌握生产节奏。
最新数据信息:设备实时上传的数据信息。
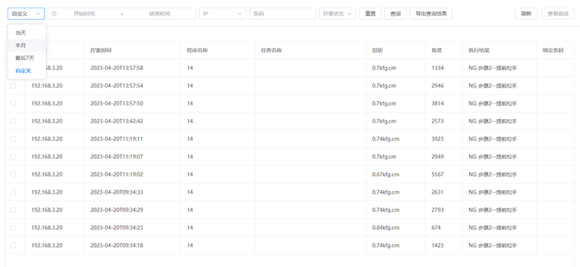
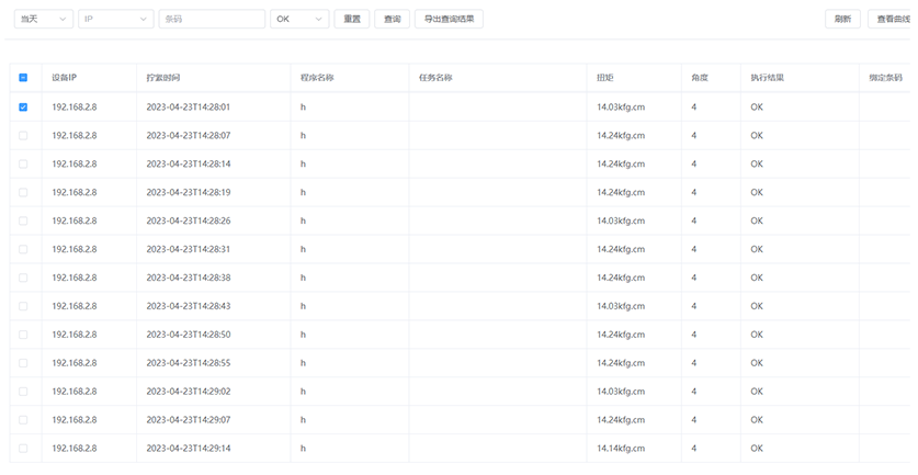
1.报表的数据查询可以通过当天/本月/最后7天快速导航,也可以自定义时间段查询需要的数据并且导出,
同时支持设备IP/拧紧状态/条码等多种方式查询分类以及导出报表。
2.报表数据支持单条曲线打开分析,可以帮助用户快速找到螺钉的长度以及贴合点,支持参数设置更符合
生产品质要求,同时支持曲线过程数据导出,对过程分析非常有用。
3.报表数据最少30条曲线叠加分析,可以帮助用户快速找到螺钉的长度以及贴合点,帮助用户参数设置更
符合生产品要求。
4.可以用户管理登录用户,同时支持多用户同时在线查阅和分析数据。
